


Ebara
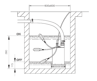
Ebara Best 2 MA 240V Submersible Pump
Tax excluded.
Please contact us for our installation options
Please contact us for all our delivery options

Ebara Best 2 MA 240V Submersible Pump
Sale price£435.00
Regular price (/)
Ebara
Ebara Best 2 MA 240V Submersible Pump
Need Installation or Maintenance? We supply, install and maintain pumping stations, sewage treatment plants and other drainage products.
Find Out More